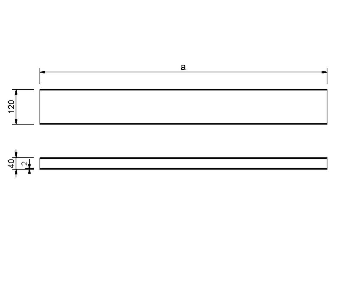
SitaKaskade Flat flat channel, made of rust-proof stainless steel, material number 1.4301, pipe cross-section 120 x 40 mm, for spanning longer horizontal flow distances, supply and install to professional standards.
In order for the external content to be
displayed at this location, you must accept
the cookies of the category
"Preferences". You
can adjust the cookie settings here.